經濟管理學院與楓客智能科技(上海)有限公司戰略合作座談及碳管理平臺捐贈儀式順利舉行
2023年11月24日,中國石油大學(北京)經濟管理學院與楓客智能科技(上海)有限公司戰略合作座談及碳管理平臺捐贈儀式在中國石油大學(北京)B座1118 會議室進行。經濟管理學院院長王建良教授、學院實驗中心主任呂慧副教授、學院實驗中心老師陶紅娜、楓客智能科技(上海)有限公司總裁李毅兵、投資總監董十弓、產學研顧問劉馳等人參加了此次活動。


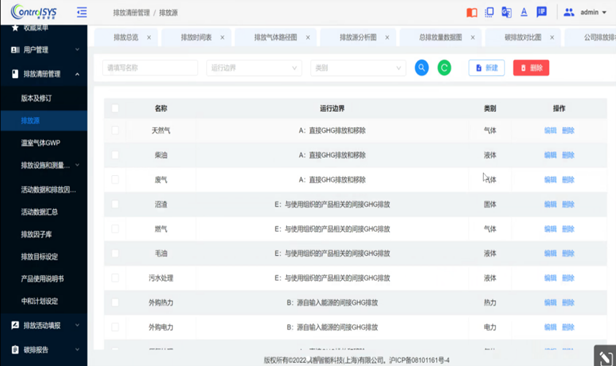
座談中,王建良院長首先介紹了經濟管理學院的具體情況,包括學院發展歷史、經管專業科學研究、智庫建設成果以及人才培養和實驗室建設的需求等。隨后,李毅兵總裁介紹了楓客智能的發展及核心產品,重點介紹了即將贈送學院的價值150萬元的碳管理實驗平臺,平臺內置24個行業國家標準排放核算方法學模板、ISO140641-1清單、參數推薦值、排放因子庫等信息,能夠實現算法編輯的可視化操作。后續楓客智能還將為學院提供定制開發、平臺培訓、認證服務,達到“產學研共有”的效果。


情況介紹完畢后,雙方代表就雙方合作進行了深入的交流,對具體合作細節進行了討論和協商。最后,中國石油大學(北京)經濟管理學院院長王建良與楓客智能科技(上海)有限公司總裁李毅兵簽署了《戰略合作框架協議書》。
11月29日,為了讓師生更加了解碳管理平臺,楓客智能公司相關負責人通過在線演示介紹了平臺的主要模塊和具體功能。該平臺主要分為管理模塊和操作模塊,集合了歸集企業碳排放相關信息、分類存儲控制計劃、碳排放報告、核查報告、復查報告、配額履約等信息。在平臺上自主設計碳盤查方案后,系統會持續自動計算,并具有一鍵生成《數據質量控制計劃》、《企業溫室氣體排放報告》、《碳資產管理咨詢建議報告》等報告的功能。




今后,經濟管理學院將繼續推進和楓客智能科技(上海)有限公司的合作,共同開發和建設與碳管理相結合的實驗課程,實現產學研融合,培育“雙碳”背景下的新型經管人才。
