首頁»
通知公告
本科生課程替代信息公示
時間:2025-10-16 閱讀次數:
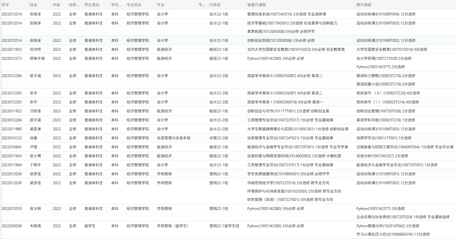
根據通知要求,現對本科生申請辦理課程替代情況公示如下:


公示期2025年10月16日-2025年10月22日,共5個工作日,如對課程替代信息有疑義,請聯系學院教務劉老師,電話89731556。
根據通知要求,現對本科生申請辦理課程替代情況公示如下:


公示期2025年10月16日-2025年10月22日,共5個工作日,如對課程替代信息有疑義,請聯系學院教務劉老師,電話89731556。