经典电视剧高清无广告播放网站 ,av免费网站_高清全集在线观看
首頁
部門概況
部門職責
機構設置
通知公告
專項簡報
規章制度
國家法規
地方法規
學校文件
部門文件
工作流程
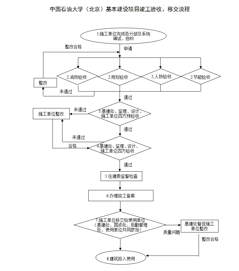
基建流程
專項流程
表格下載
基建表格
專項表格
校園規劃
建設成果
學校首頁
首頁
部門概況
部門職責
機構設置
通知公告
專項簡報
規章制度
國家法規
地方法規
學校文件
部門文件
工作流程
基建流程
專項流程
表格下載
基建表格
專項表格
校園規劃
建設成果
學校首頁
當前位置:
首頁
>
工作流程
>
基建流程
友情鏈接
教育部
北京市規劃和自然資源委員會
北京市住房和城鄉建設委員會
版權所有:中國石油大學(北京)基建處
地址:北京市昌平區府學路18號 102249
TOP